很快又到年中了,不少企業1年2次的績效考核又要開始了。但是傳統績效考核存在不少的弊端:
注重目標忽視戰略:設定績效目標時與戰略目標嚴重脫節;
注重目標忽視過程:良好的績效結果離不來過程的監管和輔導;
注重考核缺乏激勵:負激勵多于正激勵,員工看到扣分就抵制;
注重評分忽視數據:過多依靠上級評分,沒有業績數據做支撐;
注重獎罰忽視鼓勵:簡單粗暴獎勤罰懶,對過程中的問題未及時輔導和鼓勵;
這樣不免讓績效考核流于形式,還因為績效考核過于嚴格化、隨意化,不公正化讓員?對績效考核產?抵觸情緒。而用華天動力協同OA系統科學化管理績效,幫助企業解決企業組織的績效管理、考核等難題,一站式解決績效考評數據保存、透明、計算、分析等問題。由于其更科學、更透明、更高效、更公正而深受企業和員工所喜愛。

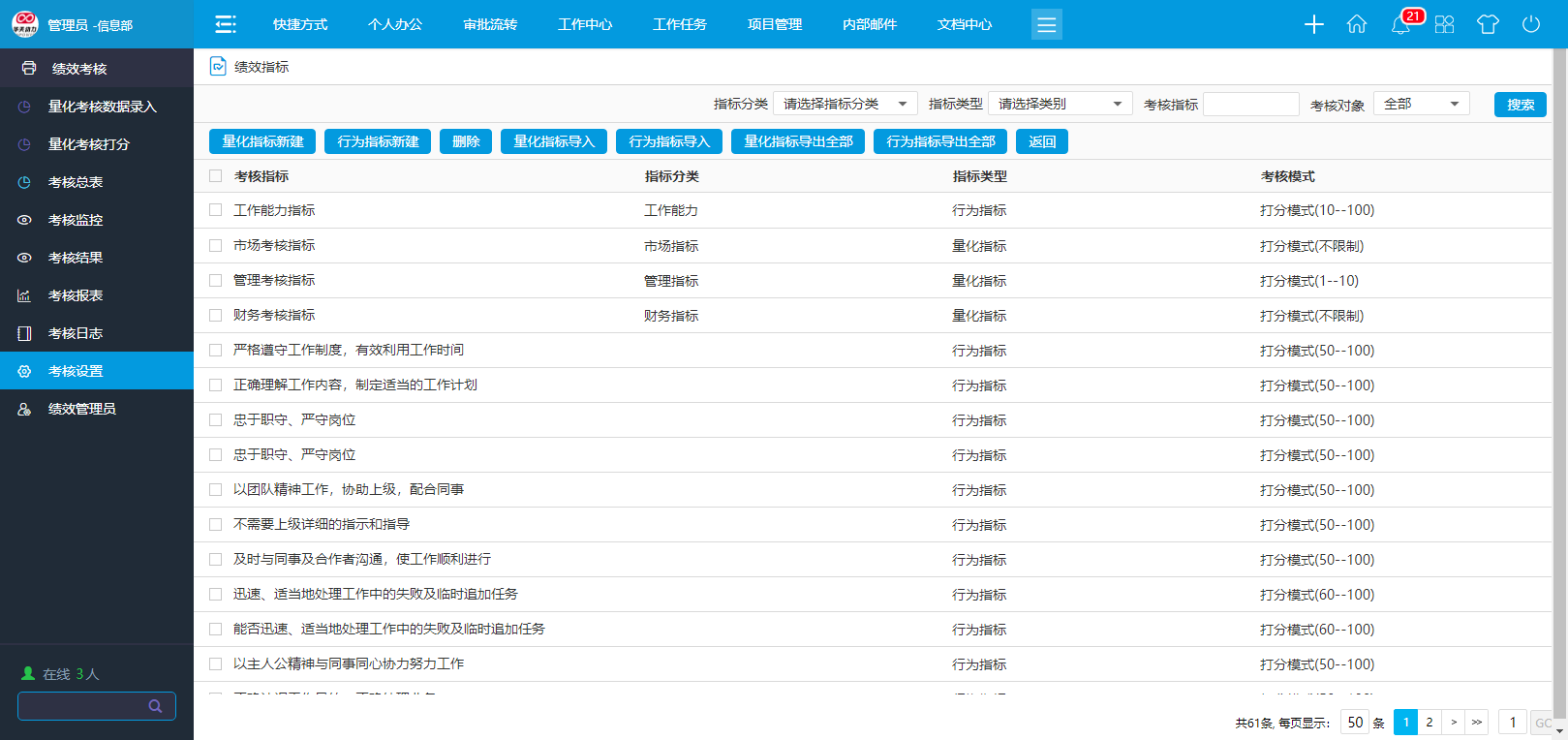
一、按需設置考核模板,避免籠統化
每個部門的工作性質不同,傳統模式用一個模板來考量,大而籠統,不科學也不公平。但要設置多個考核標準,傳統紙質考核又特別麻煩。
華天動力協同OA系統可以根據企業的實際需求,個性化定制每個部門的考核模板,對不同的考核項設定不同的權重,例如對于技術來說業務知識能力的權重就高,對于行政來說綜合素質的權重就更高,按照崗位需求來考核是否合格,從而使績效考核更加精準。

二、多維度多層級考核,避免片面化
傳統績效考核成績與考核者主管意見有很?的關系,有的考核者給員?的績效成績?較?,?有的則?較低,這就造成了績效考核的不公平,會讓員?對績效考核產?抵觸情緒。
華天動力協同OA系統采用的是更加全面、客觀的360度考核法。企業在華天動力協同OA系統建立好考核指標庫后,設定合適的績效考核表,就可以根據需求通過打分模式、選擇模式或量化指標模式對員工進行考核。在考核時,通過同事評價、上級評價、下級評價、客戶評價以及個人評價來評定績效,系統會自動統計結果,簡單易操作。

三、數字測評自動歸檔,避免不公正
華天動力協同OA系統整個考核流程都在線上進行,避免紙筆記錄造成的人為修改,怕被看出筆跡而打人情分的現象。嚴格規范考試流程,考官和被考核人只需要按照步驟操作即可,簡單公平透明,所有考核信息由OA系統自動記錄、計算、匯總,時時匯總,歸檔節約了大量的時間和人力,同時也避免了人工統計照成的錯誤,使績效考核可執行性變強。后期如果有員工提出申訴,電子調檔查詢也非常的方便。

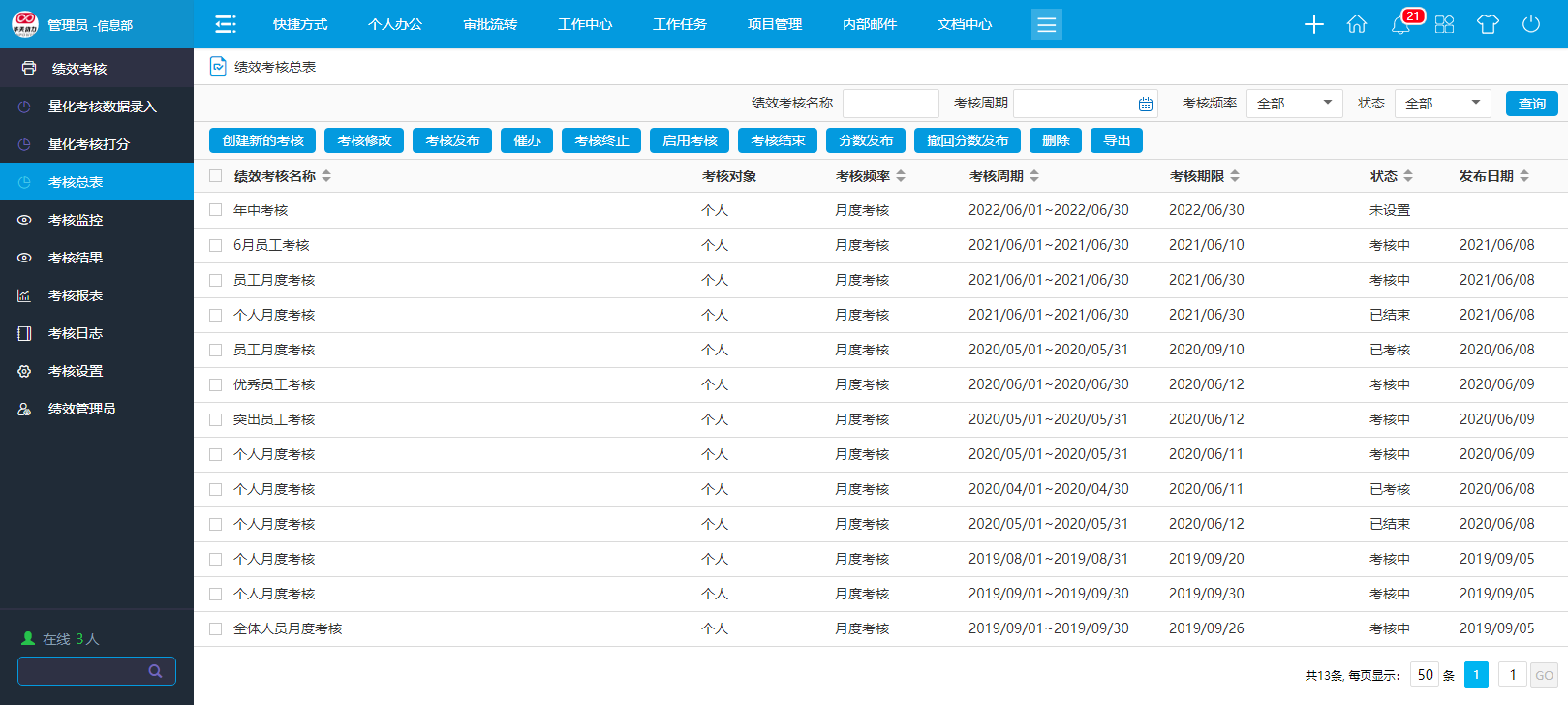
四、自動統計數據報表,避免不客觀
華天動力協同OA系統還可以自動統計后臺數據,通過折線、條形圖、雙軸圖等各種報表展示考核數據,并支持用戶根據績效考核名稱、考核周期、考核頻率、狀態進行查詢,讓管理者更直觀更客觀的了解考核狀態和考核結果,輕松實現績效分數的縱向和橫向的對比。領導可以通過縱向的對比,了解員工是否有所成長、工作狀態如何等。領導還可以查看同崗位員工的績效分數,進行橫向的對比,從而了解員工之間的差距。

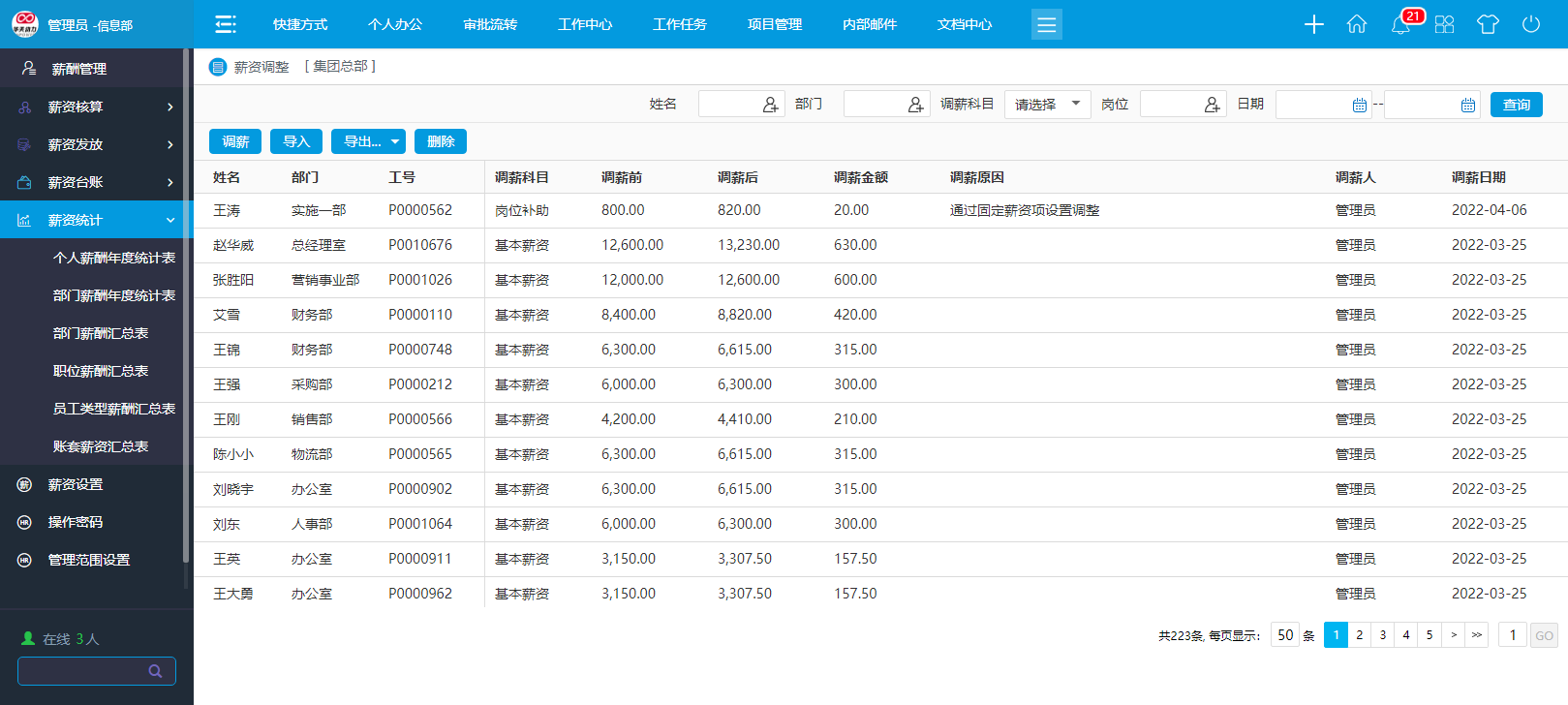
五、績效關聯薪酬系統,避免不及時
績效考核管理的重點不在考核,而是利用考核進行管理,本質上績效考核體系是一個激勵機制,即把一個人的部分所得和他的業績掛上鉤。但是傳統的管理辦法績效考核和工資掛鉤特別麻煩,需要財務根據細則做大量的統籌計算的工作。往往考核結束后的獎勵來的并不及時。
在華天動力協同OA系統中,通過績效考核與薪酬系統的聯動就能夠輕松實現快速漲薪,一旦確定績效考核級別,系統就能把相關數據自動關聯到薪資里,進行核算,大大減少了人力資源的工作量,收入和績效時時掛鉤,能很及時的刺激員工的工作積極性,提高工作效率。

華天動力協同OA系統績效考核,通過數字化流程,科學規劃考核標準,多維度多層級考核,數字測評自動歸檔,自動統計數據報表,績效關聯薪酬系統,避免了傳統績效考核中存在的籠統化、片面化、不工作、不客觀、不及時的問題,實實在在考核到位,有效刺激了員工的積極性,提高了企業工作效率。
<span style="font-size: 16px; color: rgb(62, 62, 62); text-shadow: none; background-color: rgb(254, 254, 254); letter-spacing: 1px; font-family: -apple-system-font, BlinkMacSystemFont, " helvetica="" neue",="" "pingfang="" sc",="" "hiragino="" sans="" gb",="" "microsoft="" yahei="" ui",="" yahei",="" arial,="" sans-serif;"="">
OA系統:http://www.haiguanoa.cn/